周期购
创建于 2025-07-13 / 最近更新于 2025-07-14 /
88
字体:
[默认]
[大]
[更大]
周期购
商品管理:用于展示商品信息,库存,销量,状态;添加、删除、上架、下架、编辑商品
添加商品:填写商品名称,图片,分类,设置商品规格,配送周期,每日一期(每天配送、工作日配送、周末配送、隔天配送)每周一期,每月一期,提前支付天数,时间,提前顺延时间,最小配送期数,每期起订数,配送模板,销量,状态
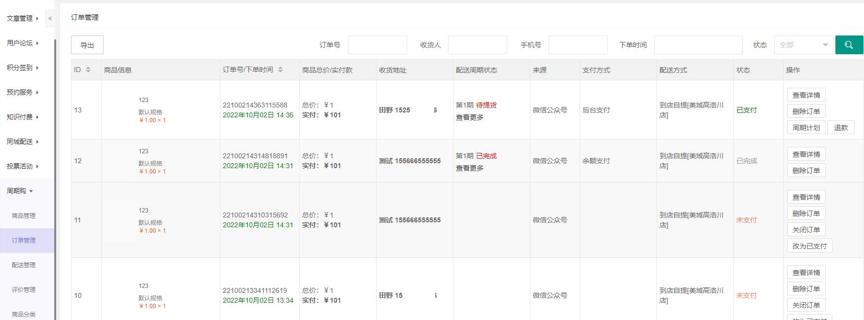
订单管理:展示用户订单,可以对订单进行导出、删除、关闭、发货,退款,查看详情,查看周期计划等操作,可以通过订单号、收货人、手机号、下单时间、状态进行检索。
配送管理:可以对订单进行筛选(待发货,已发货,全部订单),通过订单号、收货人、手机号、下单时间、状态进行检索,展示周期购订单信息
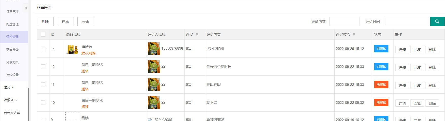
评价管理:用于查看商品评价,商品评价审核,商品评价删除,商品评价筛选、商品评价回复等操作。
评价回复
商品分类:用于查看,添加,删除,编辑商品分类
添加分类:扩展—周期购—商品分类;填写分类名称,图标等
分享海报:用于商品海报设置,设置头像,文字,二维码,微信小程序码,图片,商品图片,阴影区,文本块等多项元素。
系统设置:设置自动收货天数,商品评价开启关闭,评价审核开启关闭
0 人点赞过
常见问题
辛达快递V2-操作手册
壹叙餐饮-操作手册
瑞速商城V2-操作手册