余额明细
创建于 2025-07-13 /
84
字体:
[默认]
[大]
[更大]
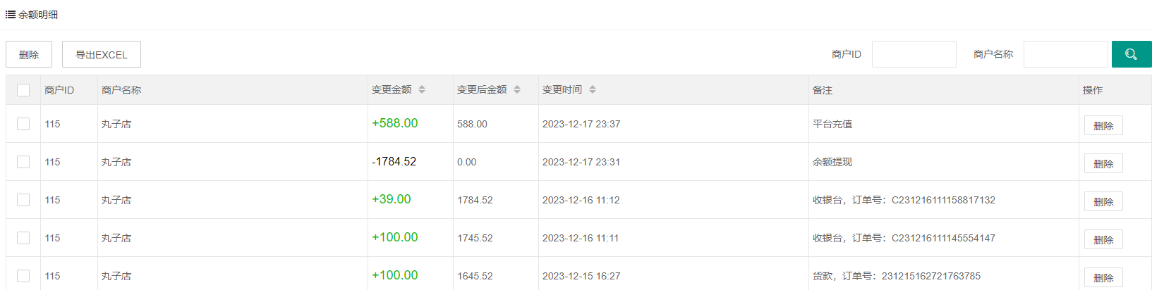
记录商家余额明细,查看变动详情,记录变更前后信息,查看变更详情备注
0 人点赞过
常见问题
辛达快递V2-操作手册
壹叙餐饮-操作手册
瑞速商城V2-操作手册